Wurlitzer X5 issues with sound and selecting

Q&A about all types of jukeboxes: Wurlitzer, Seeburg, Rock-Ola, AMI, and more.



Hildegard
Regular Member
Posts: 88
Joined: Sat Jun 06, 2009 7:14 pm
Location: Germany

Re: Wurlitzer X5 issues with sound and selecting

by Hildegard » Sat Apr 05, 2014 11:41 pm

Ok, I understand.
So I'll keep my fingers crossed that it solves the problem.

Another idea: The speakers are connected right, aren't they?
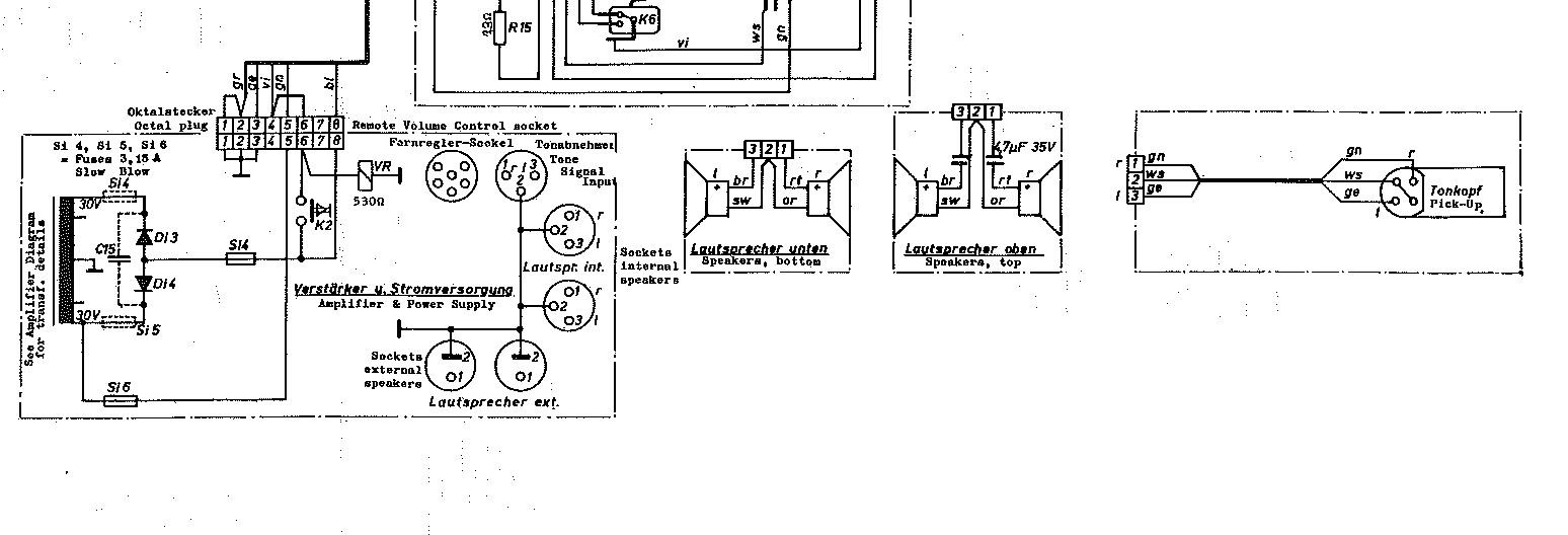
The attached diagram is part of the 1977 wiring diagram.
in general, a service manual could be helpful. It explains the functions, adjustment, lists all parts, schematics and even offers a trouble shooting section.
Check with Victory Glass for their manual #3470 for all 1977 models by the Deutsche Wurlitzer (they list it as GmbH W. Germany 1977 Models Service, TS Guide and Parts 104 Pages).

Hildegard

Speaker-Connection_1977.jpg
Speaker connection X5
(141.13 KiB) Not downloaded yet


Topic author
br549autosales
Regular Member
Posts: 41
Joined: Sat Mar 08, 2014 6:23 am
Location: Gulf Shores, Alabama....United States

Re: Wurlitzer X5 issues with sound and selecting

by br549autosales » Tue Apr 15, 2014 2:57 pm

I ordered another cartridge to try but it ended up being the wrong one, I will include a picture of the one in this jukebox.
Attachments
X 5 cartridge 2.jpg
X 5 cartridge 2.jpg (81.49 KiB) Viewed 387 times
X 5 cartridge.jpg
X 5 cartridge.jpg (74.82 KiB) Viewed 387 times


Topic author
br549autosales
Regular Member
Posts: 41
Joined: Sat Mar 08, 2014 6:23 am
Location: Gulf Shores, Alabama....United States

Re: Wurlitzer X5 issues with sound and selecting

by br549autosales » Tue Apr 15, 2014 2:58 pm

All I know do to next is send this amp to someone that can check it out for me


Hildegard
Regular Member
Posts: 88
Joined: Sat Jun 06, 2009 7:14 pm
Location: Germany

Re: Wurlitzer X5 issues with sound and selecting

by Hildegard » Tue Apr 15, 2014 3:57 pm

I am sorry we did not see this picture before when I first posted a photo of the Philips cartridge and it's replacement. They look different. The cartridge you show is a magnetic one (I don't know which one). Those two cannot be interchanged without modification.

If this magnetic works with the original amplifier, then there should be a preamp intalled as well. Otherwise the magnetic cartridge with it's low ouput (10 - 15 mV) cannot work with the amplifier equipped for ceramic cartridge (ca. 200 mV).

Which cartridge did you get now? P-132D is a ceramic cartridge and would match the amp well if still in original condition.

But if there was a magnetic cartridge installed, first you need to find out which modifications had been done. Checking with an amp technician might be a good idea. Maybe the magnetic cartridge isn't faulty.
You should ask him if he can test the cartridge as well.

Hildegard


Topic author
br549autosales
Regular Member
Posts: 41
Joined: Sat Mar 08, 2014 6:23 am
Location: Gulf Shores, Alabama....United States

Re: Wurlitzer X5 issues with sound and selecting

by br549autosales » Tue Apr 15, 2014 4:01 pm

When you say a pre amp must be installed for this cartridge to work, will the pre amp be an internal type? Would it be on the inside of the main amp?


Hildegard
Regular Member
Posts: 88
Joined: Sat Jun 06, 2009 7:14 pm
Location: Germany

Re: Wurlitzer X5 issues with sound and selecting

by Hildegard » Tue Apr 15, 2014 6:11 pm

The preamp must be an extra unit. It should be installed somewhere inside the jukebox, connected between cartridge and amplifier.
It might be easiest if you post some photos showing your jukebox from the inside.

Hildegard

Who is online

Users browsing this forum: No registered users and 10 guests

It is currently Fri Oct 07, 2016 12:38 am